Die Rolle des Luftduschraums
Luftduschräume sind eine Art Luftreinigungsgerät, das häufig in Reinräumen oder staubfreien Werkstätten zu finden ist. Die Hauptfunktion des Luftduschraums besteht darin, Staubpartikel zu entfernen, die an der Oberfläche von Personal oder Gegenständen haften, um sicherzustellen, dass die Luftqualität des Reinraums den Anforderungen von Produktion oder Experimenten entspricht. Luftduschen werden in der Regel am Eingang eines Reinraums als notwendige Möglichkeit für den Ein- und Ausstieg von Personen installiert, wodurch das Risiko einer Kontamination im Reinraum wirksam verringert wird.
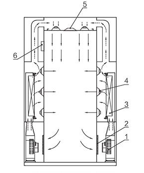
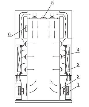
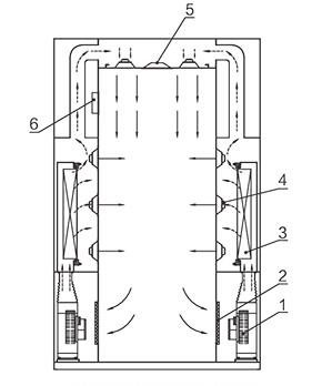
| Luftstromschema | ![]()  | 
   1.Lüfter 2.Primärfilter 3. HEPA-Filter 4. Edelstahldüse 5. Beleuchtungskörper 6.Touchscreen  | 
  ||
|---|---|---|---|---|
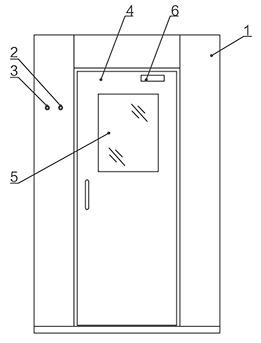
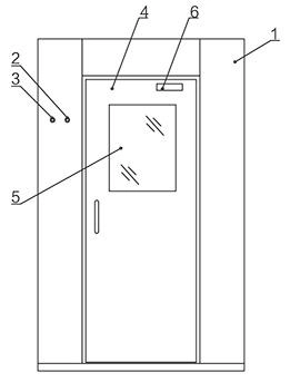
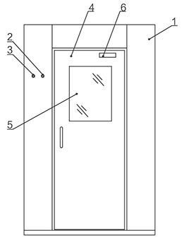
| Strukturdiagramm | ![]()  | 
   1.Box 2.Not-Aus-Taste 3. Kontrollleuchte 4. Edelstahltür 5.Doppelschichtig gehärtet 6.Türschließer  | 
  ||
I. Das Funktionsprinzip des Luftduschraums
Blasen und Reinigen der Oberfläche einer Person oder eines Gegenstandes mittels eines Luftstroms mit hoher Geschwindigkeit.
Wenn eine Person einen Luftduschraum betritt, wird sie von einer oder mehreren leistungsstarken Düsen durch einen Hochgeschwindigkeitsluftstrom geblasen, der Staubpartikel, die an Kleidung, Haaren und Körper haften, effektiv verteilen und entfernen kann. Gleichzeitig ist der Luftduschraum in der Regel mit einem HEPA-Filter ausgestattet, der die Partikel in der Luft weiter herausfiltern kann, um sicherzustellen, dass die ausgeblasene Luft sauber und frei von Schadstoffen ist.
II. Die Funktion des Luftduschraums
1. Staubverschmutzung verhindern. Als Eingangskontrollausrüstung des Reinraums kann der Luftduschraum wirksam verhindern, dass Staubpartikel von außen in den Reinraum gelangen, und die Innenumgebung des Reinraums schützen. Dies ist für Produktions- oder Versuchsräume, die eine hohe Sauberkeit erfordern, unerlässlich und kann die Kontamination von Produkten oder Versuchsergebnissen durch Staub vermeiden.
2. Verbessern Sie die Arbeitseffizienz. Durch die schnelle Reinigungswirkung des Luftduschraums kann das Personal die Vorbereitungen für das Betreten und Verlassen des Reinraums in kurzer Zeit abschließen, was die Arbeitseffizienz verbessert. Gleichzeitig kann der Luftduschraum auch die durch Staubpartikel im Reinraum verursachten Störungen und Ausfallzeiten reduzieren und so die Produktionseffizienz weiter verbessern.
3. Halten Sie die Lebensdauer Ihrer Geräte aufrecht. Staubpartikel verunreinigen nicht nur Produkte oder Prüfergebnisse, sondern verursachen auch Schäden an Produktionsanlagen. Der Einsatz von Luftduschen kann den Verschleiß der Produktionsanlagen durch Staubpartikel verringern und die Lebensdauer der Anlagen verlängern.
Kurz gesagt, als wichtiges Luftreinigungsgerät spielt der Luftduschraum eine unersetzliche Rolle in Reinräumen oder staubfreien Werkstätten. Es entfernt Staubpartikel effektiv, indem es die Oberflächen von Personen oder Gegenständen mit einem Hochgeschwindigkeitsluftstrom anbläst und reinigt, um sicherzustellen, dass die Luftqualität des Reinraums den Anforderungen der Produktion oder von Experimenten entspricht. Gleichzeitig kann der Einsatz von Luftduschräumen auch die Arbeitseffizienz verbessern, die Gesundheit der Mitarbeiter schützen und die Lebensdauer der Ausrüstung verlängern. In der zukünftigen Entwicklung, mit dem kontinuierlichen Fortschritt der sauberen Technologie und der kontinuierlichen Erweiterung der Anwendungsbereiche, wird der Luftduschraum in weiteren Bereichen eine wichtige Rolle spielen.
SNYLI verfügt über mehr als zehn Jahre Branchenerfahrung im Bereich der Luftreinigung. Wir können Ihnen Luftreinigungsprodukte wie Luftfilter, Reinigungsbänke, Transferfenster, Luftduschen, Reinraumkabinen und andere Luftreinigungsprodukte anbieten und Musterlieferungen annehmen Anpassung von nicht standardmäßigen Produkten, wir freuen uns über Ihre Anfragen!









